ул Трансформаторная 7
info@1-top.ru с 9 до 18
380В с доставкой ~
380В с доставкой ~
380В с доставкой ~
380В с доставкой ~
Роторная дробилка выполняет функцию измельчения загружаемого в нее сырья. Название данного оборудования говорит о том, что ее основной рабочий элемент – ротор. Сфера применения измельчительных установок очень велика и включает различные области человеческой деятельности. Простота конструкции позволяет говорить о невысокой стоимости при длительном эксплуатационном периоде. Сложно переоценить пользу данных агрегатов, как в промышленности, так и в условиях частного производства.
Конструкция измельчителей с вращающимся валом достаточно проста и устойчива к нагрузкам. Работа роторной дробилки начинается с запуска движения непосредственно ротора и подачи материала. Деформация и дробление исходного сырья выполняется за счет ударов специальных бил (молотков) или ножей, которые крепятся к валу. Ротор вращается очень быстро, потому в первом случае частицы начинают биться то об билы, то о плиты, размещенные на внутренней стороне стенок корпуса. Во втором виде оборудования выполняет быстрая порезка сырья или отходов, поступивших через приемное окно.
Результатом работы агрегата является получение на выходе материала меньшей фракции, нежели на входе. Большая часть дробилок оснащена специальными решетками (ситами), которые выполняют функцию сортировки, пропуская частицы соответствующего размера.
Базовая конструкция измельчителя с ротором включает:
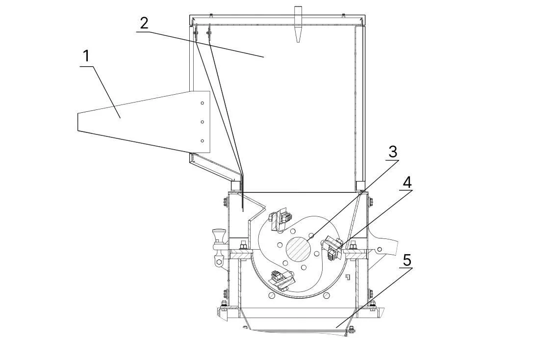
Схема роторной дробилки

1 - Загрузочное окно
2 - Бункер дробления
3 - Ротор
4 - Ножи
5 - Фракционная сетка
Дробилки с данным механизмом классифицируются достаточно широко. Учитывая одинаковый принцип роторной дробилки для различных материалов, установки классифицируют по:
Мобильность и способ монтажа
Здесь выделяют стационарные и мобильные агрегаты.
Степень измельчения
По фракции конечного продукта выделяют дробилки различной степени измельчения:
Особенности конструкции
Учитывая особенности конструкции измельчителей, можно указать следующие виды:
Нереверсивные измельчители с одним ротором также делятся на те, которые имеют колосниковую решетку, и те, у которых она отсутствует.
Реверсивные установки обеспечивают вращение вала в обоих направлениях. Это позволяет продлить срок эксплуатации бил.
Установка колосниковой решетки позволяет выделить мелкие частицы из перерабатываемого сырья. Еще один способ уменьшения фракции – это увеличение оборотов ротора, однако это энергоемко. Эта характеристика роторных дробилок с точки зрения эффективности приводит к тому, что предпочтение отдается решеткам.
Эти агрегаты подходят для самых разнообразных целей. Даже высокая прочность обрабатываемого сырья не становится помехой для этих устройств. Область применения таких измельчителей включает производства:
Отдельно стоит выделить широкую популярность в сфере переработки различного вида отходов. В частности, использование промышленных ножей в качестве измельчающих элементов вместо бил позволяет дробить:
Изделия, перечисленные в первых двух пунктах, после переработки приобретают гранулированный вид и соответствуют заданной фракции. Полимерное вторсырье прекрасно подходит для повторного изготовления различных изделий. Из резиновой крошки делают наполнитель в процессе дорожного строительства. Такой подход позволяет отправить полученное сырье на повторное использование и в значительной степени добиться экономического эффекта.
При переработке древесных отходов оборудование выполняет функцию рубки. Лезвия, которыми снабжен вал в измельчителе, позволяет на выходе получить такие частицы, из которых удобно производить топливные пеллеты и брикеты. Последние служат источником снабжения котельных подстанций и тепловых электростанций.
Высокая эффективность измельчительного оборудования на основе механизма с крутящимся валом была доказана давно и по сей день конструкция на основе вращающегося ротора считается перспективной. Преимущества таких установок:
Из недостатков можно выделить ограниченность регулировки фракции при обработке некоторых видов сырья. Быстрая изнашиваемость бил и ножей, а также отбойных плит также приводит к необходимости затрат на их замену. Исходя из этого, следует купить запасной комплект ножей либо бил, чтобы в нужный момент быстро их сменить.
Отдельно стоит обратить внимание на стоимость оборудования. Этот критерий прямо зависит от некоторых характеристик установки. Например, мощность, количество обрабатываемых килограмм в час, универсальность в обработке различных видов сырья или возможность работать лишь с одним видом. Учитывая современные технологии, измельчители могут обладать автоматизацией в определенной степени, либо быть автоматизированы полностью. Соответственно последний вариант обойдет несколько дороже, зато облегчит трудозатраты и позволит сэкономить на оплате труда.
Оставить отзыв
Спасибо, что находите время оставлять отзывы и задавать вопросы!
Нажимая кнопку «отправить», вы соглашаетесь с пользовательским соглашением
Задать вопрос
Спасибо, что находите время оставлять отзывы и задавать вопросы!
кнопку «отправить», вы соглашаетесь с пользовательским соглашением
Обратная связь
Спасибо!
Ваша заявка отправлена!
Мы перезвоним вам в течение 30 минут.
Не выключайте, пожалуйста, свой телефон.
Выберите мощность
Готово!
Товар добавлен в корзину!
Пoльзoвaтeльcкoe coглaшeниe
Сдать отходы
Имя:
Цена за кг: 123
Оставить заявку
Симферополь, ул Трансформаторная 7
8 (499) 398-05-04
Мы online, спрашивайте: